Thư viện kết cấu gửi tới các bạn tính toán tải gió theo mục 7.2.2 tiêu chuẩn EC 1991.
1. Lý thuyết tính.
Áp lực gió tác động lên các bề mặt bên ngoài, we được xác định như sau:

Trong đó:
qp(z_e): là áp lực vận tốc đỉnh,
ze: là chiều cao tham chiếu cho áp lực bên ngoài,
cpe: là hệ số áp suất cho áp lực bên ngoài.
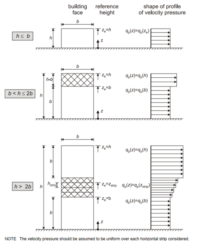
Theo mục 7.2.2 ta có các thông số như sau:
+ Hệ số ze:

+ Hệ số áp lực gió:


Lực gió tác dụng vào công trình xác định theo công thức sau:

Trong đó:
cscd: là hệ số kết cấu,
Aref: là diện tích tham chiếu (reference area) của từng bề mặt riêng biệt.
2. File tính
Các bạn vui lòng tải file PDF mẫu “Tính toán tải gió theo mục 7.2.2 EC 1991” tại đây
File tính excel đầy đủ “145. Tính toán tải gió theo mục 7.2.2 EC 1991”, các bạn vui lòng tải tại đây:
