Thư viện kết cấu gửi tới các bạn tính toán tải gió theo mục 7.6 tiêu chuẩn EC 1991 áp dụng cho trường hợp h/d > 5.
1. Lý thuyết tính.
Lực gió tác dụng vào công trình xác định theo công thức sau:

Trong đó:
cscd: là hệ số kết cấu,
Aref: là diện tích tham chiếu (reference area) của từng bề mặt riêng biệt,
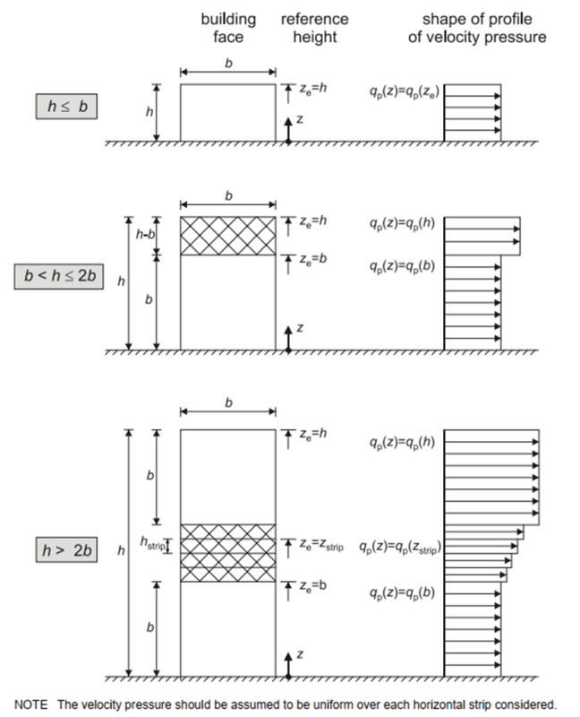
qp(z_e): là áp lực vận tốc đỉnh, xác định như hình sau:

cf: là hệ số lực của công trình, xác định theo công thức:

cf,0: là hệ số lực của mặt cắt hình chữ nhật, xác định theo hình dưới đây:

ψr: là hệ số suy giảm, xác định theo hình dưới đây:

2. File tính
Các bạn vui lòng tải file PDF mẫu “Tính toán tải gió theo mục 7.6 EC 1991” tại đây
File tính excel đầy đủ “147. Tính toán tải gió theo mục 7.6 EC 1991”, các bạn vui lòng tải tại đây:
